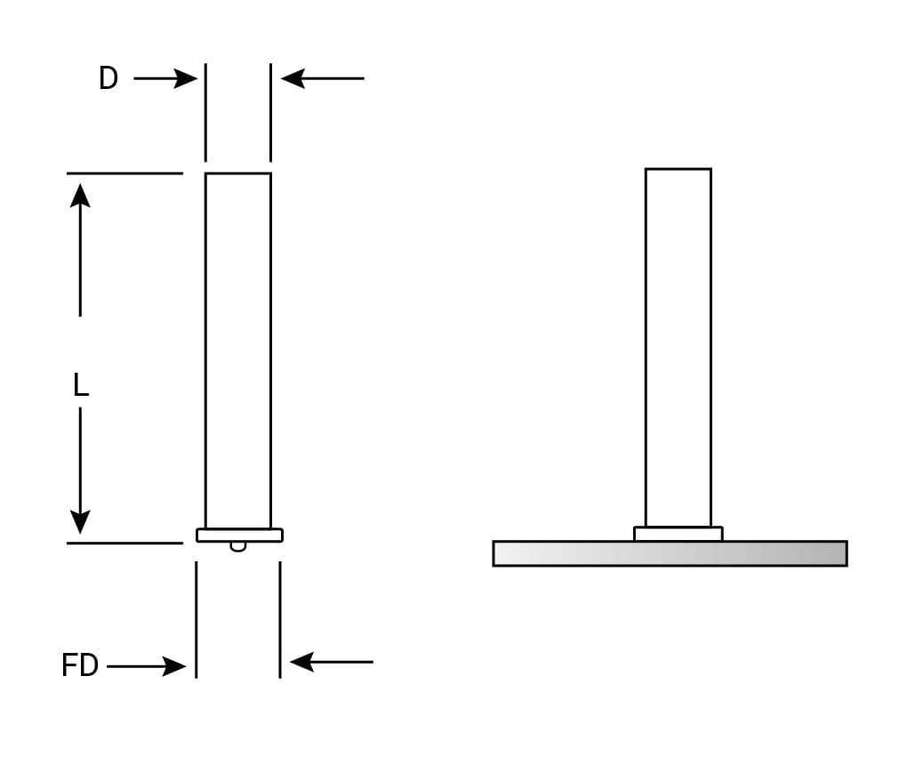
|
D |
FD |
MIN.L |
|
3/32 |
.174 |
.250 |
|
.115 |
.203 |
.250 |
|
1/8 |
.187 |
.250 |
|
.141 |
.218 |
.250 |
|
5/32 |
.250 |
.250 |
|
.161 |
.250 |
.250 |
|
3/16 |
.250 |
.250 |
|
.215 |
.312 |
.250 |
|
1/4 |
.312 |
.375 |
|
.273 |
.375 |
.375 |
|
5/16 |
.375 |
.500 |








Reviews
There are no reviews yet.